language 中文簡體 中文繁體 English Collection websiteOnline messageSite map
Welcome to Big SUN JU website!The invention relates to a portable fan type notebook computer power supply device, which comprises a heat dissipation seat for mounting a computer heat dissipation fan…
Sep 09, 2019The invention relates to a device for reducing the temperature in a computer case, in particular to a computer heat dissipation fan device for the computer case.…
Sep 09, 2019
The invention relates to a computer CPU heat dissipation fan, in particular to a wind guide cover type computer CPU heat dissipation fan.…
Sep 04, 2019
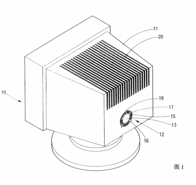
The invention relates to a built-in heat dissipation fan for a computer display, in particular to a heat dissipation fan structure for a computer display with better heat dissipation effect.…
Aug 22, 2019
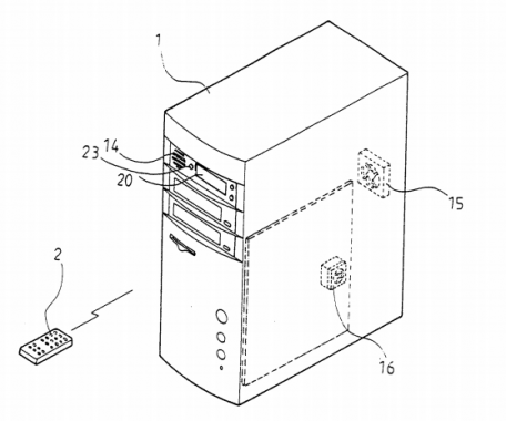
The invention relates to a heat dissipation fan of a computer host, in particular to a remote control heat dissipation fan of the computer host, which can be remotely controlled from the outside and can automatically adjust and control the rotating speed of the fan according to changes of different temperatures.…
Aug 12, 2019
The invention provides a heat dissipation fan fixing device, in particular to a heat dissipation fan fixing device of a computer host.…
Aug 07, 2019
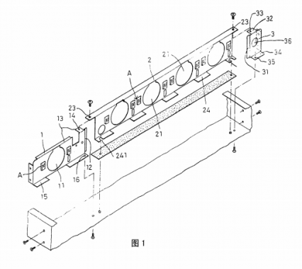
The invention relates to a diversion device of a computer heat dissipation fan, in particular to a diversion device of a notebook computer heat dissipation fan…
Jul 31, 2019
Previous notebook computer heat dissipation fan configuration devices have the following disadvantages (1) vertical backflow of the heat dissipation fan (2) is easy to generate larger noise-the backflow of the air source interferes with the heat dissipation fan blades, which is easy to cause larger noise. (3) The service life of the heat dissipation fan is shortened.This unit…
Jul 31, 2019